技術資訊
-

振動時效工藝在大口徑焊接閥門上的應用
消除焊接殘余應力的常規方法是熱處理,但對于大口徑焊接
-

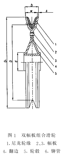
雙幅板組合滑輪應力測試試驗
某廠家新研發一種新型雙幅板組合滑輪,為了驗證雙幅板組
-

振動時效設備在石油鉆機傳動裝置的聯動機底座上的應用
石油機械中大量焊接件、鍛件、鑄件在加工制造過程中需
-

中厚板機器人橫焊焊接應力檢測與分析
隨著科技的發展,越來越多的焊接工作由機器人完成,特別
-

大型爆炸容器動態應變測試與分析
爆炸容器常用于工業、國防等領域,能夠承受和封閉一定當
-

振動時效設備在大型磨機筒上的應用
磨機筒體為大型鉚焊件,制造時要經過卷板、焊接等多道成
-

浮頂油罐殘余應力測試方法
某公司從國外引進數臺十萬立方米大型浮頂油罐,委托聚航
-

翻車機鋼結構應變測試研究試驗
翻車機是港口裝卸設備之一,如果其出現故障停機,會對港
-

大型顎式破碎機振動時效處理工藝研究
顎式破碎機的機架大多采用焊接結構,而且機架工作時受力
-

輸油管道螺旋焊縫殘余應力分析研究
國內外現發生不少輸油管段在水壓試驗和使用期間突然撕





